Printable Template DB
2011 Ford Crown Victorium Polouse Interceptor Horn Wiring Diagram
power washing website template
microsoft excel sample purchase order template
wire harnes fixture
sample baa agreement
news site template wordpress
what parse resume means
truly free resume templates
wiring diagram lincoln brewster
Wiring For The Horn For The Police Inceptor Crown Victoria
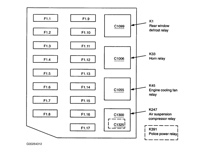
2008 Ford Crown Victoria Fuse Diagram Ricks Free Auto
2011 Ford Crown Victoria Fuse Diagram Ricks Free Auto
2011 Ford Crown Victoria Fuse Diagram Ricks Free Auto
My Horn Is Not Working I Have A 02 Crown Vic Intercepter
My Horn Is Not Working I Have A 02 Crown Vic Intercepter
Ford Crown Victoria Cruise Control Installation
2011 Ford Crown Victoria Fuse Diagram Ricks Free Auto
Ford Remote Starter And Alarm Installation
2011 Crown Victoria Ex Cop Car Easy Horn Fix For Horn Not Working
Solved 2003 Crown Victoria Fuse Box Diagram Fixya
2008 Ford Crown Victoria Fuse Diagram Ricks Free Auto
Ford Crown Victoria Questions Keep Losing Charge Cargurus
20 Most Recent 2003 Ford Crown Victoria Questions Answers
2006 Ford Crown Victoria Police Interceptor Fuse Block Diagram
Solved Power Distribution Box Diagram 2001 Ford Crown Fixya
Ford Crown Victoria Police Interceptor P71 P7b Common Problems And Fixes
Where Is The Cigarette Lighter Fuse Or Fuses On A 2006
Ford Crown Victoria Cruise Control Installation
2003 Crown Victoria Horn Wiring Diagram 2003 Mercury Grand
My Horn Is Not Working I Have A 02 Crown Vic Intercepter
Source :
pinterest.com
Popular Posts
2006 Nissan Titan Fuel Filter Location
Community Helpers Worksheets For Kindergarten Pdf
Excel Monthly Balance Sheet Template
Blank Face Template Pdf
92 Toyotum Camry Fuel Filter Location
Flag Union Template
Freelance Designer Contract Template
How To Add Starbucks Stars From Receipt
Free Workout Log Template
Jdm Pic Programmer Circuit Diagram
Abilities To Put On A Resume
Bill Payoff Template
1995 Jeep Grand Cherokee Wiring
2005 Bmw X5 Fuse Box Diagram
Cut Out Clam Shell Invitation Template
How Do I Upload My Resume To Indeed
2006 Jeep Cherokee Wiring Diagram
Easy Best Man Speech Template
Free Printable Medication Log
2007 Pontiac G6 Engine Compartment Electrical Diagram
Icf Certification Levels
Corporate Trainer Resume
2005 Isuzu Ascender Engine Diagram
1999 Dodge Durango Interior
It Project Manager Resume Template
Basic Ignition Switch Wiring Diagram For Vehicle Get Free Image
Current Bls Certification For Healthcare Providers
Free Superhero Mask Template
2008 Porsche Cayenne Fuse Box
Create Custom Template In Wordpress
2012 Vw Jettum Se Fuse Diagram
2014 Gm Wiring Diagram Power Seat
Concrete Slab Diagram
1999 Oldsmobile Fuse Box
It Maintenance Contract Template Free
Consulting Company Profile Template Doc
2012 Honda Crv Alternator Fuse Location
Honeywell T Stat Wiring Diagram
Adobe Illustrator Wedding Invitation Template Free
Data Protection Certification Uk
Business Card Template Pdf Free
Dc 12v To Ac 230v Power Inverter Circuit
2 Stroke Engine Schematic
Free Printable Coupons For Maybelline Mascara
Editable Newspaper Template Pdf
Goodwill Donation Spreadsheet Template 2017
Dbt Therapy Worksheets Pdf
Hydroelectric Power Plant Sankey Diagram
3rd Brake Light Wiring Diagram
2003 Mitsubishi Galant Radio Wiring Diagram
1972 Vw Wiring Diagram
Dollar General Receipt
Free Printable Texas Residential Lease Agreement
1967 Gto Wiring Harnes Diagram
Daily Sales Report Sample Excel